Nếu việc này trở thành sự thật thì đây là phiên bản iPhone có màn hình lớn nhất từ trước đến nay, to hơn đáng kể so với màn hình 5.5 inch của iPhone 6S Plus.
Nhiều người tỏ vẻ hoài nghi về ý tưởng iPhone màn hình cong, tuy nhiên khi nhìn vào các bằng sáng chế mà Apple đã nộp trước đó thì điều này hoàn toàn có thể trở thành sự thật với màn hình OLED linh hoạt.
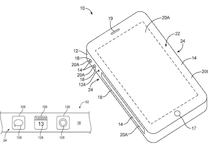
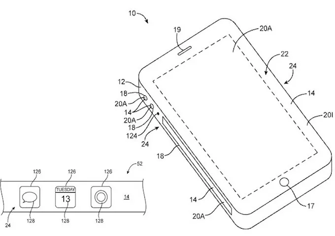
Dựa vào bằng sáng chế mà Apple đã nộp vào năm 2011, chúng ta có thể thấy cạnh bên màn hình được vát vuông chứ không phải vát cong, được bổ sung thêm một màn hình phụ bao gồm lớp cảm ứng, các nút ảo để điều chỉnh âm lượng hoặc chụp ảnh.
Ngoài ra, trong một bằng sáng chế khác, Apple cũng phác thảo ra hình dạng iPhone có màn hình cong theo kiểu bo tròn, hình trụ….
Nhiều tin đồn cho biết Apple sẽ sớm cho ra mắt iPhone sử dụng màn hình OLED linh hoạt vào năm 2017 hoặc 2018. Màn hình OLED mang đến nhiều lợi ích như mỏng hơn, nhẹ hơn, cung cấp góc nhìn tốt hơn, màu sắc hiển thị chính xác, độ tương phản hình ảnh và tiết kiệm năng lượng.


