Công nghệ mới tự động phát hiện vấn đề về bánh xe

(PLO)- Theo Carbuzz, phiên bản mới của GM sẽ tự động phát hiện các vấn đề về căn chỉnh bánh xe và đó là hệ thống Super Cruise do thương hiệu sáng tạo.

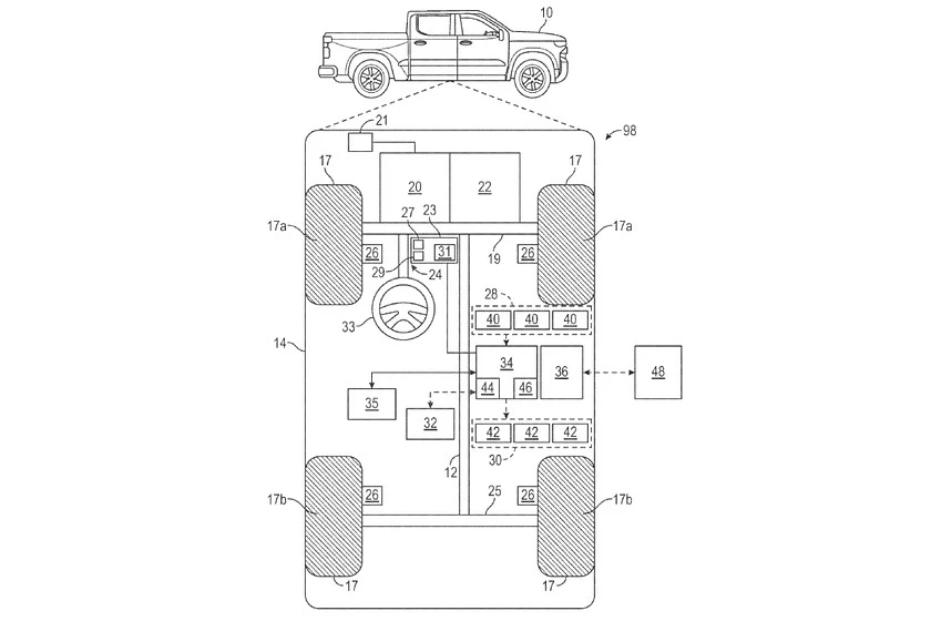
Mới đây, General Motors đã nộp đơn xin cấp bằng sáng chế cho hệ thống phát hiện căn chỉnh bánh xe tự động của ô tô.

Xe- GM- moi -tu-dong -phat-hien-van-de-ve-banh-xe.jpg
Phiên bản mới của GM sẽ tự động phát hiện các vấn đề về căn chỉnh bánh xe. Ảnh: Carbuzz.

Theo đó hầu hết những chiếc xe cao cấp của GM đều đã được trang bị hệ thống mới này, vì vậy việc xin cấp bằng sáng chế này chỉ là một thủ tục.

Hệ thống Super Cruise, được sử dụng Đơn vị đo quán tính (IMU) để phát hiện xem có "sự kiện" nào có thể khiến bánh xe bị lệch hay không.

Những cảm biến này nằm rải rác trên khắp chiếc. Một ví dụ điển hình là IMU nằm trong cảm biến túi khí. Nó xác định mức độ nghiêm trọng của một vụ tai nạn và liệu túi khí có nên được triển khai hay không, đồng thời nó cũng có thể được sử dụng để phát hiện các tác động nhỏ.

Xe- GM- moi -tu-dong -phat-hien-van-de-ve-banh-xe-1.jpg
Việc kiểm tra căn chỉnh có thể được thực hiện tự động hoặc bán tự động. Ảnh: Carbuzz

Để xác định xem có cần kiểm tra độ căn chỉnh bánh xe hay không, độ lớn của lực tác dụng lên xe sẽ được đo và nếu nó nằm giữa hai giá trị đã xác định trước, xe sẽ thông báo cho chủ xe rằng cần phải kiểm tra độ thẳng bánh xe.

Được biết, việc kiểm tra căn chỉnh có thể được thực hiện tự động hoặc bán tự động. Bất kỳ chiếc xe nào được trang bị phiên bản Super Cruise mới nhất của GM, cho phép lái xe rảnh tay, đều có thể làm được điều đó.

Xe- GM- moi -tu-dong -phat-hien-van-de-ve-banh-xe-2.jpg
Sau khi ô tô xác định rằng có lỗi căn chỉnh bánh xe, nó sẽ hỏi người lái xe có khắc phục sự cố ngay hay sau này. Ảnh: Carbuzz.

Đơn cử như chiếc Cadillac Escalade. Nếu chủ sở hữu cho phép chiếc xe tiến hành thử nghiệm, nó sẽ thiết lập một biểu đồ với đường đi tốt nhất là thẳng và các cảm biến, camera và IMU khác nhau sẽ để mắt đến chiếc xe.

Nếu độ lệch đường dẫn lớn hơn giá trị xác định trước thì cần phải kiểm tra và sửa lỗi căn chỉnh bánh xe vật lý. Ở chế độ bán tự động, xe sẽ hướng dẫn người lái hoàn thành một loạt nhiệm vụ được xác định trước để thu được dữ liệu tương tự.

Trong khi xe đang tiến hành bài kiểm tra, màn hình thông tin giải trí sẽ hiển thị lộ trình đã thiết lập và mọi khoảng trống có thể có cho người lái.

Xe- GM- moi -tu-dong -phat-hien-van-de-ve-banh-xe-3.jpg
Hệ thống này rất quan trọng vì nó giúp kéo dài tuổi thọ của xe và lốp. Ảnh: Carbuzz.

Sau khi ô tô xác định rằng có lỗi căn chỉnh bánh xe, nó sẽ hỏi người lái xe xem họ muốn khắc phục sự cố ngay bây giờ hay sau này.

Nếu người lái xe đồng ý, các tính năng được kết nối sẽ tìm cửa hàng ô tô gần nhất và thiết lập điều hướng. Nếu người lái xe nói không, xe sẽ đưa ra lời nhắc vào khoảng thời gian định trước, giống như mỗi lần bạn khởi động xe.

Theo General Motors, hệ thống này rất quan trọng vì nó giúp kéo dài tuổi thọ của xe và lốp. Đây là một trong những vấn đề phổ biến nhất của xe hơi và khá dễ dàng để xác định xem xe đã sử dụng bao nhiêu năm.

Xe- GM- moi -tu-dong -phat-hien-van-de-ve-banh-xe-4.jpg
Một hệ thống như thế này sẽ mang lại lợi ích cho nhiều loại sản phẩm đa dạng của GM. Ảnh: Carbuzz.

Các triệu chứng bao gồm tay lái không ổn định và ồn ào, xe bị lệch về một hướng và lốp mòn không đều. Đây cũng là một trong những cuộc kiểm tra mỗi năm một lần mà bạn phải thực hiện đối với ô tô.

Một hệ thống như thế này sẽ mang lại lợi ích cho nhiều loại sản phẩm đa dạng của GM, đặc biệt là trên những chiếc xe hiệu suất cao như Corvette.

Căn chỉnh bánh xe kém có tác động mạnh mẽ đến độ mòn của lốp, độ cân bằng của bánh xe, các bộ phận của hệ thống treo và phanh.

Đọc thêm