Cruise Origin là mẫu ô tô điện không người lái đầu tiên được trang bị hệ thống sàn có khả năng tự làm sạch của GM.
![]() |
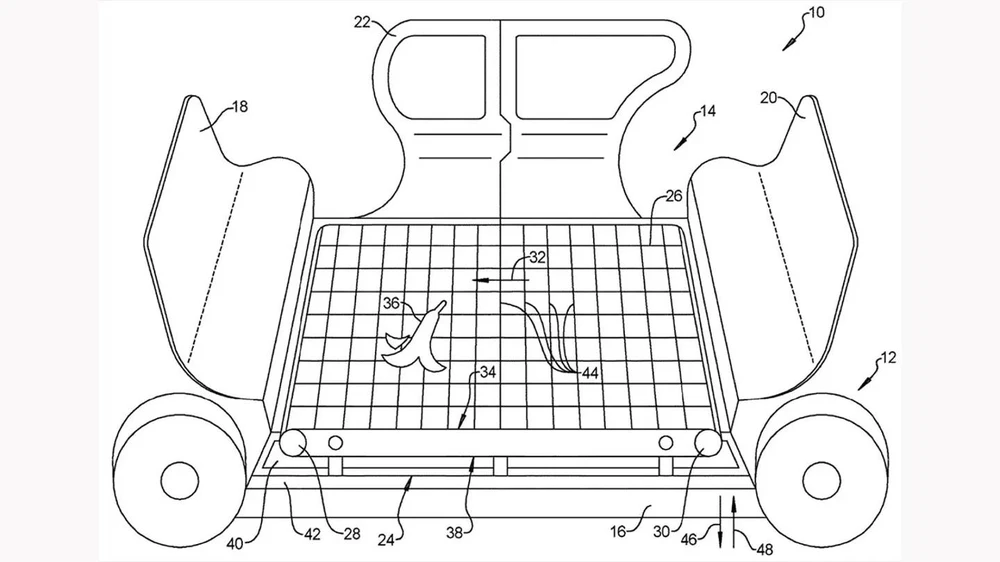
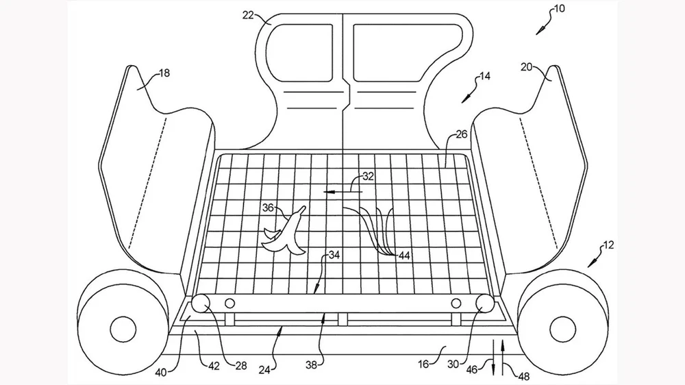
Ô tô điện không người lái Cruise Origin được trang bị hệ thống sàn có khả năng tự làm sạch. Ảnh: David Paul Morris/Bloomberg |
Xe có thiết kế với phần chỗ ngồi và cửa tương tự như tàu điện ngầm, rộng rãi và hoàn toàn tự động. Dự kiến Cruise Origin sẽ được sản xuất hàng loạt tại Michigan (Mỹ) trong thời gian tới.
Hệ thống sàn tự làm sạch có nguyên lí hoạt động như một máy chạy bộ, các đường gân và rãnh trên sàn sẽ hứng các mảnh vỡ, rác, chất lỏng… và di chuyển chúng đến khay thu gom khi không có người trên xe. Rác sau đó có thể thu dọn dễ dàng khi xe được sạc hoặc bảo dưỡng.
![]() |
Hệ thống sàn tự làm sạch của GM. Ảnh: GM |
Theo GM, quy trình làm sạch thủ công thường mất rất nhiều thời gian do cần phải có người thực hiện trực tiếp cùng với các thiết bị vệ sinh và thùng chứa chất thải.
GM hi vọng công nghệ sàn làm sạch tự động sẽ được triển khai trên Cruise Origin sớm nhất vào năm 2023.

