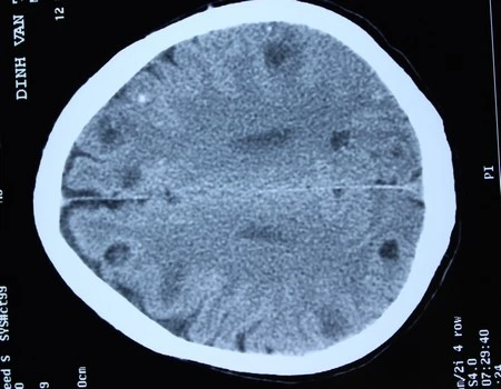
Bệnh nhân nhập viện ngày 12/5 trong tình trạng tri giác lơ mơ, có các cơn co giật. Ông kể thường xuyên ăn lòng lợn tiết canh và rau sống nên các bác sĩ nghi ngờ bị sán não. Trên hình ảnh chụp CT, mỗi lát cắt chụp phát hiện 4-5 ổ sán não, tổng thể có khoảng 50 ổ sán trong não người bệnh.
![]() |
| Hình ảnh sán làm tổ trong não bệnh nhân. Ảnh:Bác sĩ cung cấp. |
Theo bác sĩ Nguyễn Trung Cấp, Phó trưởng khoa Cấp cứu, Bệnh viện Bệnh Nhiệt đới, sán thường có trong ruột lợn, thậm chí ruột của người. Khi phân thải ra môi trường nếu không được xử lý tốt, bám vào rau sống, tiết canh (do giết mổ không an toàn, trứng sán trong phân có nguy cơ dính vào tiết canh trong quá trình chọc tiết lợn). Người nuốt phải trứng sán sẽ bị nhiễm ấu trùng sán lợn.
Vào cơ thể, trứng sán phát triển thành ấu trùng, có khả năng xuyên qua niêm mạc đường tiêu hóa và theo máu, mạch huyết đi khắp nơi trong cơ thể. Sán trú ngụ, làm tổ tại bộ phận nào thì gây bệnh tại đó. Sán chui vào não có thể gây tình trạng phù não, co giật, thậm chí tử vong; chui vào mắt gây mù mắt.
Mỗi năm, Bệnh viện điều trị cho 30-40 ca sán não. Nếu được phát hiện và điều trị sớm bệnh nhân sẽ khỏi hẳn các triệu chứng, song nhiều trường hợp có thể để lại các nốt vôi hóa trong não.
Bác sĩ khuyến cáo, để phòng bệnh, mỗi người cần giữ vệ sinh cá nhân sạch sẽ, tránh tiếp xúc với môi trường đất; rửa sạch tay trước khi ăn và sau khi đi vệ sinh. Vệ sinh môi trường sạch sẽ, quản lý tốt nguồn phân lợn, bò trong sản xuất và nuôi trồng. Tuyệt đối không ăn thịt lợn gạo, tiết canh, nem thính, nem chạo, thịt lợn tái…
Theo Phương Trang (VNE)
